 |

| TYPY SPIRÁLOVĚ VINUTÝCH TĚSNĚNÍ |
| SPIRATEM 2 |
 |
skládá se z těsnící výplně a kovovéhospirálového pásku ve tvaru V, vhodné pro příruby typu výkružek / nákružek a pero drážka
 |
| SPIRATEM 12 |
 |
stejné jako SPIRATEM 2, ale s vnějším středícím kroužkem (slouží též k vystředění těsnění), vhodné na hrubé příruby
 |
| SPIRATEM 23 |
 |
stejné jako SPIRATEM 2, ale s vnitřním kroužkem (snižuje turbulentní proudění media a lépe chrání spirálu před korozí), vhodné pro příruby typu výkružek / nákružek
 |
| SPIRATEM 123 |
 |
stejné jako SPIRATEM 2, ale s vnitřním i vnějším kroužkem, vhodné na hrubé příruby

|
Doporučujeme drsnost povrchu styčných ploch přírub 3,2-12,5 m Ra.
ZNAČENÍ Obchodní značka = SPIRATEM 123
1 = Vnější kroužek 2 = Spirála 3 = Vnitřní kroužek
 |
 |
A - materiál spirálové pásky a výplně B - jmenovitá velikost příruby a tlaková třída C - výrobce D - norma E - materiál vnitřního kroužku (3 = vnitřní kroužek)
|
VÝHODY VNĚJŠÍHO STŘEDÍCÍHO KROUŽKU
Vnější středící (vodící) kroužek, spirálového těsnění má následující přednosti:
- zabezpečuje vystředění těsnění v přírubě
- chrání vlastní těsnící část spirálového vinutí
- zvyšuje dodatečně ochranu proti prasknutí (vystřelení) těsnění
- slouží jako pojistka před přetížením těsnící časti
- chrání před radiálním tečením měkkých plnidel, např. PTFE
Z těchto důvodů se upřednostňuje použití spirálově vinutých těsnění s vnějšími středícími kroužky. Na vnějším kroužku je provedeno značení: ražením - jmenovitý rozměr, tlaková třída, norma a materiály; barevným pruhem - materiál těsnící výplně.
VÝHODY VNITŘNÍHO KROUŽKU
Vnitřní kroužek spirálově vinutého těsnění má následující přednosti:
- chrání před radiálním tečením měkkých plnidel, např. PTFE
- zmenšuje turbulentní tok těsněného média, chrání těsnící část před proudem média čímž prodlužuje životnost spirálově vinutého těsnění.
- snižuje tepelné zatížení těsnící části
Vnitřní a vnější kroužky jsou obzvlášť doporučené pro použití na spirálových těsněních převyšujících třídu 600 lbs., ale specielně jsou vhodné pro vysoké teploty a tlaky za účelem optimalizovat operační přizpůsobivost spirálové těsnící části.
VOLBA MATERIÁLŮ
Materiál pro vnitřní kroužky a kovové spirály je obvykle stejný jako materiál příruby z důvodů předcházení korozi a různým expanzním problémům. Vnější středící kroužek je obecně vyráběn z uhlíkové oceli s antikorozním ošetřením, kroužek může být však vyroben také ze stejného kovu jako příruba.
Tabulka kovových materiálů
| materiál |
ČSN |
specifikace podle DIN |
č. materiálu podle DIN |
AISI/ASTM UNS |
B. S. |
teplota [°C] |
| min |
max |
| uhlíková ocel |
11375 |
RSt. 37.2 CS |
1,0038 |
238-C |
40B |
-40 |
500 |
| nerez ocel |
17240 |
X5CrNi 18 |
1,4301 |
304 |
304S15/16/31 |
-250 |
550 |
| nerez ocel |
17249 |
X2CrNi 189 |
1,4306 |
304L |
304S11 |
-250 |
550 |
| nerez ocel |
17251 |
X15CrNiSi 2012 |
1,4828 |
309 |
309S24 |
-100 |
1000 |
| nerez ocel |
17346 |
X5CrNiMo 1810 |
1,4401 |
316 |
316S31/33 |
-100 |
550 |
| nerez ocel |
17349 |
X2CrNiMo 1810 |
1,4404 |
316L |
316S11/13 |
-100 |
550 |
| nerez ocel |
17348 |
X10CrNiMoTi 1810 |
1,4571 |
316Ti |
320S31 |
-100 |
550 |
| nerez ocel |
17247 |
X10CrNiTi 189 |
1,4541 |
321 |
321S12/49/87 |
-250 |
550 |
Spodní tabulka může být použita k určení správné těsnící výplně. Nejčastěji se používá grafit. V případě kdy grafit způsobuje znečištění média nebo když není dostatečně chemicky a tepelně odolný, pak je doporučeno použít jiný druh těsnícího materiálu.
Tabulka materiálů těsnící výplně
| materiál |
teplota [°C] |
maximální provozní tlak [MPa] |
plynno-těsnost |
použití |
barevné pruhové značení |
| min |
max |
| grafit |
-200 |
550 |
25 |
dobrá |
agresivní prostředí |
šedá |
| PTFE |
-200 |
250 |
10 |
výborná |
agresivní prostředí |
bílá |
GRAFIT je univerzálně použitelný, vysoce kvalitní materiál s velmi dobrou chemickou a teplotní odolností, nestárne a má dobré těsnící vlastnosti. Není vhodný na oxidační media: lučavky královské, olea, kyseliny dusičné, kyslíku do 350 °C, bromu, fluoru, chloru, oxidu chloričitého, oxidu sírového, taveného chloridu a dusičnanu draselného, peroxidu vodíku.
PTFE je velmi kvalitní syntetický materiál s výbornou chemickou odolností a odolností proti stárnutí, má též výborné těsnící vlastnosti. Nelze použít v prostředí tekutých nebo rozpuštěných alkalických kovů, elementárního fluoru a fluorovaných uhlovodíků.
Použití jiných materiálů zajistíme po dohodě.
VOLBA TLOUŠŤKY TĚSNĚNÍ
Spirálově vinuté těsnění se obvykle vyrábí o tloušťce 4,5 mm. Avšak v některých případech volbou jiné tloušťky těsnění se může dosáhnout lepších výsledků.
 |
| t1 [mm] |
tolerance [mm] |
D [mm] |
Bmax [mm] |
t2 [mm] |
tloušťka těsnění po montáži [mm] |
| 7.2 |
+0,35 |
100 - 3600 |
33 |
5 |
5.3-5.6 |
| 6.4 |
+0,3 |
200 - 1600 |
30 |
4 |
4.7-4-4.9 |
| 1601 - 3000 |
28 |
| 4.5 |
+0.25 |
16 - 630 |
35 |
3 |
3.2-3.4 |
| 631 - 1600 |
30 |
| 3 |
+0,5 |
16 - 630 |
25 |
2 |
2.3-2.5 |
| 631 - 1500 |
20 |
| 2.5 |
+0,5 |
10 - 200 |
8 |
1.5 |
1.8-2.0 |
V případě nejasností se obraťte na naše experty.
VÝROBNÍ TOLERANCE
 |
| norma těsnění |
ASME B 16.20 |
BS 3381 |
|
| norma příruby |
ASME/ANSI B 16.5 |
ASME/ANSI B 16.47 sérié A, B |
BS 1560 |
DIN |
| rozměr |
ø |
tolerance [mm] |
ø |
tolerance [mm] |
ø |
tolerance [mm] |
ø |
tolerance [mm] |
| d1 |
1/2"-3" 4"-24" |
± 0,8 ± 1,5 |
26"-60" |
± 3,0 |
1/2"-3" 4"-24" |
+ 0,8 + 1,5 |
<=600 >600<=800 >800<=1600 >2000 |
± 0,8 ± 1,5 ± 3,0 ± 3,0 |
| d2 |
1/2"-3" 4"-24" |
± 0,4 ± 0,8 |
26"-34" 36"-60" |
± 0,8 ± 1,3 |
1/2"-8" 10"-24" |
+ 0,4 + 1,5 |
<=600 >600<=800 >800<=1600 >1600 |
± 0,8 ± 1,5 ± 1,5 ± 3 |
| d3 |
1/2"-8" 10"-24" |
± 0,8 + 1,5-0,8 |
26"-60" |
± 1,5 |
1/2"-8" 10"-24" |
- 0,8 - 1,5 |
<=600 >600<=1600 >1600 |
± 0,8 ± 1,5 ± 3,0 |
| d4 |
1/2"-24" |
- 0,8 |
26"-60" 36"-60" |
± 0,8 |
1/2"-24" |
- 0,8 |
<=600 >600<=1000 >1000<=2000 >2000 |
- 0,8 - 1,5 - 2,0 - 3,0 |
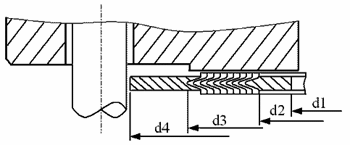
ROZMĚRY SPIRÁLOVĚ VUNUTÝCH TĚSNĚNÍ USPOŘÁDANÉ PODLE NOREM PRO TĚSNĚNÍ A NOREM PRO PŘÍRUBY
Rozměry spirálově vinutých těsnění typu SPIRATEM 123 a SPIRETEM 12 dle normy BS 3381
- pro příruby dle norem BS 1560 a ASME/ANSI B 16.5.
 |
| jmenovitý průměr trubky |
d1 [mm] |
d2 [mm] |
d3 [mm] |
d4 [mm] |
| tlaková třída [lbs] |
tlaková třída [lbs] |
tlaková třída [lbs] |
tlaková třída [lbs] |
| 150 - 2500 |
150 |
300 - 1500 |
2500 |
150 - 2500 |
150 |
300 |
600 |
900 |
1500 |
2500 |
| 1/2" |
14,3 |
18,7 |
18,7 |
18,7 |
32,2 |
47,6 |
54 |
54 |
63,5 |
63,5 |
69,9 |
| 3/4" |
20,6 |
26,6 |
25 |
25 |
40,1 |
57,2 |
66,7 |
66,7 |
69,9 |
69,9 |
76,2 |
| 1" |
27 |
32,9 |
31,4 |
31,4 |
48 |
66,7 |
73 |
73 |
79,4 |
79,4 |
85,7 |
| 1 1/4" |
34,9 |
45,6 |
44,1 |
39,3 |
60,7 |
76,2 |
82,6 |
82,6 |
88,9 |
88,9 |
104,8 |
| 1 1/2" |
41,3 |
53,6 |
50,4 |
47,2 |
70,3 |
85,7 |
95,3 |
95,3 |
98,4 |
98,4 |
117,5 |
| 2 |
52,4 |
69,5 |
66,3 |
58,3 |
86,1 |
104,8 |
111,1 |
111,1 |
142,9 |
142,9 |
146,1 |
| 2 1/2" |
63,5 |
82,2 |
79 |
69,5 |
98,8 |
123,8 |
130,2 |
130,2 |
165,1 |
165,1 |
168,3 |
| 3" |
77,8 |
101,2 |
94,9 |
91,7 |
121,1 |
136,5 |
149,2 |
149,2 |
168,8 |
174,6 |
196,9 |
| 4" |
103,2 |
126,6 |
120,3 |
117,1 |
149,6 |
174,6 |
181 |
193,7 |
206,4 |
209,6 |
235 |
| 5" |
128,5 |
153,6 |
147,2 |
142,5 |
178,2 |
196,9 |
215,9 |
241,3 |
247,7 |
254 |
279,4 |
| 6" |
154 |
180,6 |
174,2 |
171,1 |
210 |
222,3 |
250,8 |
266,7 |
288,9 |
282,6 |
317,5 |
| 8" |
203,2 |
231,4 |
225 |
215,5 |
263,9 |
279,4 |
308 |
320,7 |
358,8 |
352,4 |
387,4 |
| 10" |
254 |
286,9 |
280,6 |
269,5 |
317,9 |
339,7 |
362 |
400,1 |
435 |
435 |
476,3 |
| 12" |
303,2 |
339,3 |
333 |
323,5 |
375,1 |
409,6 |
422,3 |
457,2 |
498,5 |
520,7 |
549,6 |
| 14" |
342,9 |
371,1 |
364,7 |
|
406,8 |
450,9 |
485,8 |
492,1 |
520,7 |
577,9 |
|
| 16" |
393,7 |
421,9 |
415,5 |
|
464 |
514,4 |
539,8 |
565,2 |
574,7 |
641,4 |
|
| 18" |
444,5 |
475,9 |
469,5 |
|
527,5 |
549,3 |
596,9 |
612,8 |
638,2 |
704,9 |
|
| 20" |
495,3 |
526,7 |
520,3 |
|
578,3 |
606,4 |
654,1 |
682,6 |
698,5 |
755,7 |
|
| 24" |
596,9 |
631,4 |
625,1 |
|
686,2 |
717,6 |
774,7 |
790,6 |
838,2 |
901,7 |
|
Rozměry spirálově vinutých těsnění typu SPIRATEM 123 a SPIRATEM 12 dle normy ASME 16.20 (API 601)
- pro příruby dle norem ASME/ANSI B16.5
| jmenovitý průměr trubky |
d1 [mm] |
d2 [mm] |
| tlaková třída [lbs] |
tlaková třída [lbs] |
| 150 |
300 |
400 |
600 |
900 |
1500 |
2500 |
150 |
300 |
400 |
600 |
900 |
1500 |
2500 |
| 1/2" |
14,2 |
14,2 |
14,2 |
14,2 |
14,2 |
14,2 |
14,2 |
19,1 |
19,1 |
19,1 |
19,1 |
19,1 |
19,1 |
19,1 |
| 3/4" |
20,6 |
20,6 |
20,6 |
20,6 |
20,6 |
20,6 |
20,6 |
25,4 |
25,4 |
25,4 |
25,4 |
25,4 |
25,4 |
25,4 |
| 1" |
26,9 |
26,9 |
26,9 |
26,9 |
26,9 |
26,9 |
26,9 |
31,8 |
31,8 |
31,8 |
31,8 |
31,8 |
31,8 |
31,8 |
| 1 1/4" |
38,1 |
38,1 |
38,1 |
38,1 |
33,3 |
33,3 |
33,3 |
47,8 |
47,8 |
47,8 |
47,8 |
39,6 |
39,6 |
39,6 |
| 1 1/2" |
44,5 |
44,5 |
44,5 |
44,5 |
41,4 |
41,4 |
41,4 |
54,1 |
54,1 |
54,1 |
54,1 |
47,8 |
47,8 |
47,8 |
| 2 |
55,6 |
55,6 |
55,6 |
55,6 |
52,3 |
52,3 |
52,3 |
69,9 |
69,9 |
69,9 |
69,9 |
58,7 |
58,7 |
58,7 |
| 2 1/2" |
66,5 |
66,5 |
66,5 |
66,5 |
63,5 |
63,5 |
63,5 |
82,6 |
82,6 |
82,6 |
82,6 |
69,9 |
69,9 |
69,9 |
| 3" |
81 |
81 |
81 |
81 |
81 |
81 |
81 |
101,6 |
101,6 |
101,6 |
101,6 |
95,3 |
92,2 |
92,2 |
| 4" |
106,4 |
106,4 |
106,4 |
106,4 |
106,4 |
106,4 |
106,4 |
127 |
127 |
120,7 |
120,7 |
120,7 |
117,6 |
117,6 |
| 5" |
131,8 |
131,8 |
131,8 |
131,8 |
131,8 |
131,8 |
131,8 |
155,7 |
155,7 |
147,6 |
147,6 |
147,6 |
143 |
143 |
| 6" |
157,2 |
157,2 |
157,2 |
157,2 |
157,2 |
157,2 |
157,2 |
182,6 |
182,6 |
174,8 |
174,8 |
174,8 |
171,5 |
171,5 |
| 8" |
215,9 |
215,9 |
209,6 |
209,6 |
209,6 |
206,2 |
200,2 |
233,4 |
233,4 |
225,6 |
225,6 |
222,3 |
215,9 |
215,9 |
| 10" |
268,2 |
268,2 |
260,4 |
260,4 |
260,4 |
257,8 |
247,7 |
287,3 |
287,3 |
274,6 |
274,6 |
276,4 |
266,7 |
270 |
| 12" |
317,5 |
317,5 |
317,5 |
317,5 |
314,5 |
314,5 |
292,1 |
339,9 |
339,9 |
327,2 |
327,2 |
323,9 |
323,9 |
317,5 |
| 14" |
349,3 |
349,3 |
349,3 |
349,3 |
342,9 |
339,9 |
|
371,6 |
371,6 |
362 |
362 |
355,6 |
362 |
|
| 16" |
400,1 |
400,1 |
400,1 |
400,1 |
393,7 |
387,4 |
|
422,4 |
422,4 |
412,8 |
412,8 |
412,8 |
406,4 |
|
| 18" |
449,3 |
449,3 |
449,3 |
449,3 |
444,5 |
438,2 |
|
474,7 |
474,7 |
469,9 |
469,9 |
463,6 |
463,6 |
|
| 20" |
500,1 |
500,1 |
500,1 |
500,1 |
495,3 |
489 |
|
525,5 |
525,5 |
520,7 |
520,7 |
520,7 |
520,7 |
|
| 24" |
603,3 |
603,3 |
603,3 |
603,3 |
603,3 |
577,9 |
|
628,7 |
628,7 |
628,7 |
628,7 |
628,7 |
628,7 |
|
| jmenovitý průměr trubky |
d3 [mm] |
d4 [mm] |
| tlaková třída [lbs] |
tlaková třída [lbs] |
| 150-600 |
900-2500 |
150 |
300 |
400 |
600 |
900 |
1500 |
2500 |
| 1/2" |
31,8 |
31,8 |
47,8 |
54,1 |
54,1 |
54,1 |
63,5 |
63,5 |
69,9 |
| 3/4" |
39,6 |
39,6 |
57,2 |
66,8 |
66,8 |
66,8 |
69,9 |
69,9 |
76,2 |
| 1" |
47,8 |
47,8 |
66,8 |
73,2 |
73,2 |
73,2 |
79,5 |
79,5 |
85,9 |
| 1 1/4" |
60,5 |
60,5 |
76,2 |
82,6 |
82,6 |
82,6 |
88,9 |
88,9 |
104,9 |
| 1 1/2" |
69,9 |
69,9 |
85,9 |
95,3 |
95,3 |
95,3 |
98,6 |
98,6 |
117,6 |
| 2 |
85,9 |
85,9 |
104,9 |
111,3 |
111,3 |
111,3 |
143 |
143 |
146 |
| 2 1/2" |
98,6 |
98,6 |
124 |
130,3 |
130,3 |
130,3 |
165,1 |
165,1 |
168,4 |
| 3" |
120,7 |
120,7 |
136,7 |
149,4 |
149,4 |
149,4 |
168,4 |
174,8 |
196,9 |
| 4" |
149,4 |
149,4 |
174,8 |
181,1 |
177,8 |
193,8 |
206,5 |
209,6 |
235 |
| 5" |
177,8 |
177,8 |
196,9 |
215,9 |
212,9 |
241,3 |
247,7 |
254 |
279,4 |
| 6" |
209,6 |
209,6 |
22,3 |
251 |
247,7 |
266,7 |
289,1 |
282,7 |
317,5 |
| 8" |
263,7 |
257,3 |
279,4 |
308,1 |
304,8 |
320,8 |
358,9 |
352,6 |
387,4 |
| 10" |
317,5 |
311,2 |
339,9 |
362 |
358,9 |
400,1 |
435,1 |
435,1 |
476,3 |
| 12" |
374,7 |
368,3 |
409,7 |
422,4 |
419,1 |
457,2 |
498,6 |
520,7 |
549,4 |
| 14" |
406,4 |
400,1 |
450,9 |
485,9 |
482,6 |
492,3 |
520,7 |
577,9 |
|
| 16" |
463,6 |
457,2 |
514,4 |
539,8 |
536,7 |
565,2 |
574,8 |
641,4 |
|
| 18" |
527,1 |
520,7 |
549,4 |
596,9 |
593,9 |
612,9 |
638,3 |
704,9 |
|
| 20" |
577,9 |
571,5 |
606,6 |
654,1 |
647,7 |
682,8 |
698,5 |
755,7 |
|
| 24" |
685,8 |
679,5 |
717,6 |
774,7 |
768,4 |
790,7 |
838,2 |
901,7 |
|

Rozměry spirálově vinutých těsnění typu SPIRATEM 123 a SPIRETEM 12 dle normy ASME B16.20 (API 601)
- pro příruby dle normy ASME B16.47 série A(MSS SP-44)
| jmenovitý průměr trubky |
d1 [mm] |
d2 [mm] |
| tlaková třída [lbs] |
tlaková třída [lbs] |
| 150 |
300 |
400 |
600 |
900 |
150 |
300 |
400 |
600 |
900 |
| 26" |
654,1 |
654,1 |
660,4 |
647,7 |
666,8 |
673,1 |
685,8 |
685,8 |
685,8 |
685,8 |
| 28" |
704,9 |
704,9 |
711,2 |
698,5 |
711,2 |
723,9 |
736,6 |
736,6 |
736,6 |
736,6 |
| 30" |
755,7 |
755,7 |
755,7 |
755,7 |
774,7 |
774,7 |
793,8 |
793,8 |
793,8 |
793,8 |
| 32" |
806,5 |
806,5 |
812,8 |
812,8 |
812,8 |
825,5 |
850,9 |
850,9 |
850,9 |
850,9 |
| 34" |
857,3 |
857,3 |
863,6 |
863,6 |
863,6 |
876,3 |
901,7 |
901,7 |
901,7 |
901,7 |
| 36" |
908,1 |
908,1 |
917,7 |
917,7 |
920,8 |
927,1 |
955,8 |
955,8 |
955,8 |
958,9 |
| 38" |
958,9 |
952,5 |
952,5 |
952,5 |
1009,7 |
977,9 |
977,9 |
971,6 |
990,6 |
1035,1 |
| 40" |
1009,7 |
1003,3 |
1000,3 |
1009,7 |
1060,5 |
1028,7 |
1022,4 |
1025,7 |
1047,8 |
1098,6 |
| 42" |
1060,5 |
1054,1 |
1051,1 |
1066,8 |
1111,3 |
1079,5 |
1073,2 |
1076,5 |
1104,9 |
1149,4 |
| 44" |
1111,3 |
1104,9 |
1104,9 |
1111,3 |
1155,7 |
1130,3 |
1130,3 |
1130,3 |
1162,1 |
1206,5 |
| 46" |
1162,1 |
1152,6 |
1168,4 |
1162,1 |
1219,2 |
1181,1 |
1178,1 |
1193,8 |
1212,9 |
1270 |
| 48" |
1212,9 |
1209,8 |
1206,5 |
1219,2 |
1270 |
1231,9 |
1235,2 |
1244,6 |
1270 |
1320,8 |
| 50" |
1263,7 |
1244,6 |
1257,3 |
1270 |
|
1282,7 |
1295,4 |
1295,4 |
1320,8 |
|
| 52" |
1314,5 |
1320,8 |
1308,1 |
1320,8 |
|
1333,5 |
1346,2 |
1346,2 |
1371,6 |
|
| 54" |
1358,9 |
1352,6 |
1352,6 |
1378 |
|
1384,3 |
1403,4 |
1403,4 |
1428,8 |
|
| 56" |
1409,7 |
1403,4 |
1403,4 |
1428,8 |
|
1435,1 |
1454,2 |
1454,2 |
1479,6 |
|
| 58" |
1460,5 |
1447,8 |
1454,2 |
1473,2 |
|
1485,9 |
1511,3 |
1505 |
1536,7 |
|
| 60" |
1511,3 |
1524 |
1517,7 |
1530,4 |
|
1536,7 |
1562,1 |
1568,5 |
1593,9 |
|
| jmenovitý průměr trubky |
d3 [mm] |
d4 [mm] |
| tlaková třída [lbs] |
tlaková třída [lbs] |
| 150 |
300 |
400 |
600 |
900 |
150 |
300 |
400 |
600 |
900 |
| 26" |
704,9 |
736,6 |
736,6 |
736,6 |
736,6 |
774,7 |
835,2 |
831,9 |
866,9 |
882,7 |
| 28" |
755,7 |
787,4 |
787,4 |
787,4 |
787,4 |
831,9 |
898,7 |
892,3 |
914,4 |
946,2 |
| 30" |
806,5 |
844,6 |
844,6 |
844,6 |
844,6 |
882,7 |
952,5 |
946,2 |
971,6 |
1009,7 |
| 32" |
860,6 |
901,7 |
901,7 |
901,7 |
901,7 |
939,8 |
1006,6 |
1003,3 |
1022,4 |
1073,2 |
| 34" |
911,4 |
952,5 |
952,5 |
952,5 |
952,5 |
990,6 |
1057,4 |
1054,1 |
1073,2 |
1136,7 |
| 36" |
968,5 |
1006,6 |
1006,6 |
1006,6 |
1009,7 |
1047,8 |
1117,6 |
1117,6 |
1130,3 |
1200,2 |
| 38" |
1019,3 |
1016 |
1022,4 |
1041,4 |
1085,9 |
1111,3 |
1054,1 |
1073,2 |
1104,9 |
1200,2 |
| 40" |
1070,1 |
1070,1 |
1076,5 |
1098,6 |
1149,4 |
1162,1 |
1114,6 |
1127,3 |
1155,7 |
1251 |
| 42" |
1124 |
1120,9 |
1127,3 |
1155,7 |
1200,2 |
1219,2 |
1165,4 |
1178,1 |
1219,2 |
1301,8 |
| 44" |
1178,1 |
1181,1 |
1181,1 |
1212,9 |
1257,3 |
1276,4 |
1219,2 |
1231,9 |
1270 |
1368,6 |
| 46" |
1228,9 |
1228,9 |
1244,6 |
1263,7 |
1320,8 |
1327,2 |
1273,3 |
1289,1 |
1327,2 |
1435,1 |
| 48" |
1279,7 |
1286 |
1295,4 |
1320,8 |
1371,6 |
1384,3 |
1324,1 |
1346,2 |
1390,7 |
1485,9 |
| 50" |
1333,5 |
1346,2 |
1346,2 |
1371,6 |
|
1435,1 |
1378 |
1403,4 |
1447,8 |
|
| 52" |
1384,3 |
1397 |
1397 |
1422,4 |
|
1492,3 |
1428,8 |
1454,2 |
1498,6 |
|
| 54" |
1435,1 |
1454,2 |
1454,2 |
1479,6 |
|
1549,4 |
1492,3 |
1517,7 |
1555,8 |
|
| 56" |
1485,9 |
1505 |
1505 |
1530,4 |
|
1606,6 |
1543,1 |
1568,5 |
1612,9 |
|
| 58" |
1536,7 |
1562,1 |
1555,8 |
1587,5 |
|
1663,7 |
1593,9 |
1619,3 |
1663,7 |
|
| 60" |
1587,5 |
1612,9 |
1619,3 |
1644,7 |
|
1714,5 |
1644,7 |
1682,8 |
1733,6 |
|
Rozměry spirálově vinutých těsnění typu SPIRATEM 123 a SPIRATEM 12 dle normy ASME B16.20 (API 601)
- pro příruby dle normy ASME B16.47 série B(API 605)
| jmenovitý průměr trubky |
d1 [mm] |
d2 [mm] |
| tlaková třída [lbs] |
tlaková třída [lbs] |
| 150 |
300 |
400 |
600 |
900 |
150 |
300 |
400 |
600 |
900 |
| 26" |
654,1 |
654,1 |
654,1 |
644,7 |
673,1 |
673,1 |
673,1 |
666,8 |
663,7 |
692,2 |
| 28" |
704,9 |
704,9 |
701,8 |
692,2 |
723,9 |
723,9 |
723,9 |
714,5 |
704,9 |
743 |
| 30" |
755,7 |
755,7 |
752,6 |
752,6 |
787,4 |
774,7 |
774,7 |
765,3 |
778 |
806,5 |
| 32" |
806,5 |
806,5 |
800,1 |
793,8 |
838,2 |
825,5 |
825,5 |
812,8 |
831,9 |
863,6 |
| 34" |
857,3 |
857,3 |
850,9 |
850,9 |
859,4 |
876,3 |
876,3 |
866,9 |
889 |
920,8 |
| 36" |
908,1 |
908,1 |
898,7 |
901,7 |
927,1 |
927,1 |
927,1 |
917,7 |
939,8 |
946,2 |
| 38" |
958,9 |
971,6 |
952,5 |
952,5 |
1009,7 |
974,6 |
1009,7 |
971,6 |
990,6 |
1035,1 |
| 40" |
1009,7 |
1022,4 |
1000,3 |
1009,7 |
1060,5 |
1022,4 |
1060,5 |
1025,7 |
1047,8 |
1098,6 |
| 42" |
1060,5 |
1054,1 |
1051,1 |
1066,8 |
1111,3 |
1079,5 |
1079,5 |
1076,5 |
1104,9 |
1149,4 |
| 44" |
1111,3 |
1124 |
1104,9 |
1111,3 |
1155,7 |
1124 |
1162,1 |
1130,3 |
1162,1 |
1206,5 |
| 46" |
1162,1 |
1178,1 |
1168,4 |
1162,1 |
1219,2 |
1181,1 |
1216,2 |
1193,8 |
1212,9 |
1270 |
| 48" |
1212,9 |
1200,2 |
1206,5 |
1219,2 |
1270 |
1231,9 |
1231,9 |
1244,6 |
1270 |
1320,8 |
| 50" |
1263,7 |
1267 |
1257,3 |
1270 |
|
1282,7 |
1317,8 |
1295,4 |
1320,8 |
|
| 52" |
1314,5 |
1317,8 |
1308,1 |
1320,8 |
|
1333,5 |
1368,6 |
1346,2 |
1371,6 |
|
| 54" |
1365,3 |
1346,2 |
1352,6 |
1378 |
|
1384,3 |
1384,3 |
1403,4 |
1428,8 |
|
| 56" |
1412,7 |
1428,8 |
1403,4 |
1428,8 |
|
1435,1 |
1479,6 |
1454,2 |
1479,6 |
|
| 58" |
1463,5 |
1484,4 |
1454,2 |
1473,2 |
|
1485,9 |
1535,2 |
1505 |
1536,7 |
|
| 60" |
1514,3 |
1505 |
1517,7 |
1530,4 |
|
1536,7 |
1536,7 |
1568,5 |
1593,9 |
|
| jmenovitý průměr trubky |
d3 [mm] |
d4 [mm] |
| tlaková třída [lbs] |
tlaková třída [lbs] |
| 150 |
300 |
400 |
600 |
900 |
150 |
300 |
400 |
600 |
900 |
| 26“ |
698,5 |
711,2 |
698,5 |
714,5 |
749,3 |
725,4 |
771,7 |
746,3 |
765,3 |
838,2 |
| 28“ |
749,3 |
762 |
749,3 |
755,7 |
800,1 |
776,2 |
825,5 |
800,1 |
819,2 |
901,7 |
| 30“ |
800,1 |
812,8 |
806,5 |
828,8 |
857,3 |
827 |
886 |
857,3 |
879,6 |
958,9 |
| 32“ |
850,9 |
863,6 |
860,6 |
882,7 |
914,4 |
881,1 |
939,8 |
911,4 |
933,5 |
1016 |
| 34“ |
908,1 |
914,4 |
911,4 |
939,8 |
971,6 |
935 |
993,9 |
962,2 |
997 |
1073,2 |
| 36“ |
958,9 |
965,2 |
965,2 |
990,6 |
997 |
987,6 |
1047,8 |
1022,4 |
1047,8 |
1124 |
| 38“ |
1009,7 |
1047,8 |
1022,4 |
1041,4 |
1085,9 |
1044,7 |
1098,6 |
1073,2 |
1104,9 |
1200,2 |
| 40“ |
1063,8 |
1098,6 |
1076,5 |
1098,6 |
1149,4 |
1095,5 |
1149,4 |
1127,3 |
1155,7 |
1251 |
| 42“ |
1114,6 |
1117,6 |
1127,3 |
1155,7 |
1200,2 |
1146,3 |
1200,2 |
1178,1 |
1219,2 |
1301,8 |
| 44“ |
1165,4 |
1200 |
1181,1 |
1212,9 |
1257,3 |
1197,1 |
1251 |
1231,9 |
1270 |
1368,6 |
| 46“ |
1224 |
1254,3 |
1244,6 |
1263,7 |
1320,8 |
1255,8 |
1317,8 |
1289,1 |
1327,2 |
1435,1 |
| 48“ |
1270 |
1270 |
1295,4 |
1320,8 |
1371,6 |
1306,6 |
1368,6 |
1346,2 |
1390,7 |
1485,9 |
| 50“ |
1325,6 |
1355,9 |
1346,2 |
1371,6 |
|
1357,4 |
1419,4 |
1403,4 |
1447,8 |
|
| 52“ |
1376,4 |
1406,7 |
1397 |
1422,4 |
|
1408,2 |
1470,2 |
1454,2 |
1498,6 |
|
| 54“ |
1422,4 |
1422,4 |
1454,2 |
1479,6 |
|
1463,8 |
1530,4 |
1517,7 |
1555,8 |
|
| 56“ |
1472,2 |
1524 |
1505 |
1530,4 |
|
1514,6 |
1593,9 |
1568,5 |
1612,9 |
|
| 58“ |
1522,5 |
1573,3 |
1555,8 |
1587,5 |
|
1579,6 |
1655,8 |
1619,3 |
1663,7 |
|
| 60“ |
1573,3 |
1574,8 |
1619,3 |
1644,7 |
|
1630,4 |
1706,6 |
1682,8 |
1733,6 |
|
Rozměry spirálově vinutých těsnění typu SPIRATEM 2 pro tlakovou třídu 150-1500 lbs
- pro příruby výkružek/nákružek dle normy ASME/ANSI B16.5
 |
| jmenovitý průměr trubky |
úzké |
široké |
| d2 [mm] |
d3 [mm] |
d2 [mm] |
d3 [mm] |
| 1/2" |
|
18 |
21 |
35 |
| 3/4" |
|
24 |
27 |
43 |
| 1" |
|
30 |
33 |
51 |
| 1 1/4" |
|
38 |
42 |
64 |
| 1 1/2" |
|
44 |
48 |
73 |
| 2" |
|
57 |
60 |
92 |
| 2 1/2" |
|
68 |
73 |
105 |
| 3" |
|
84 |
89 |
127 |
| 3 1/2" |
|
97 |
102 |
140 |
| 4" |
|
110 |
114 |
157 |
| 5" |
|
137 |
141 |
186 |
| 6" |
|
162 |
168 |
216 |
| 8" |
|
213 |
219 |
270 |
| 10" |
|
267 |
273 |
324 |
| 12" |
|
318 |
324 |
381 |
| 14" |
|
349 |
356 |
413 |
| 16" |
|
400 |
406 |
470 |
| 18" |
|
451 |
457 |
535 |
| 20" |
|
502 |
510 |
585 |
| 24" |
|
603 |
610 |
690 |
Rozměry spirálově vinutých těsnění typu SPIRATEM 2 pro tlakovou třídu 150-1500 lbs
- pro příruby pero/drážka dle normy ASME/ANSI B16.5
 |
| jmenovitý průměr trubky |
|
úzké |
široké |
| d2 [mm] |
d3 [mm] |
d3 [mm] |
| 1/2" |
25 |
35 |
35 |
| 3/4" |
33 |
43 |
43 |
| 1" |
38 |
48 |
51 |
| 1 1/4" |
48 |
57 |
64 |
| 1 1/2" |
54 |
64 |
73 |
| 2" |
73 |
83 |
92 |
| 2 1/2" |
86 |
95 |
105 |
| 3" |
108 |
118 |
127 |
| 3 1/2" |
121 |
130 |
140 |
| 4" |
132 |
145 |
157 |
| 5" |
160 |
173 |
186 |
| 6" |
190 |
203 |
216 |
| 8" |
238 |
254 |
270 |
| 10" |
286 |
305 |
324 |
| 12" |
343 |
36 |
381 |
| 14" |
375 |
394 |
413 |
| 16" |
425 |
448 |
470 |
| 18" |
489 |
511 |
535 |
| 20" |
535 |
559 |
585 |
| 22" |
591 |
616 |
641 |
| 24" |
640 |
667 |
690 |
Rozměry spirálově vinutých těsnění typu SPIRATEM 123 a SPIRATEM 12
- pro příruby vyráběné dle normy DIN
 |
| jmenovitý průměr trubky [mm] |
d1 [mm] |
d2 [mm] |
d3 [mm] |
d3 [mm] |
| tlaková třída [bar] |
tlaková třída [bar] |
tlaková třída [bar] |
tlaková třída [bar] |
| 10-320 |
10-320 |
10-40 |
64-320 |
10 |
16 |
25 |
40 |
64 |
100 |
160 |
250 |
320 |
| 10 |
18 |
24 |
36 |
36 |
46 |
46 |
46 |
46 |
56 |
56 |
56 |
67 |
67 |
| 15 |
22 |
28 |
40 |
40 |
51 |
51 |
51 |
51 |
61 |
61 |
61 |
72 |
72 |
| 20 |
27 |
33 |
47 |
47 |
61 |
61 |
61 |
61 |
74 |
74 |
74 |
79 |
|
| 25 |
34 |
40 |
54 |
54 |
71 |
71 |
71 |
71 |
82 |
82 |
82 |
82 |
92 |
| 32 |
43 |
49 |
65 |
65 |
82 |
82 |
82 |
82 |
90 |
90 |
90 |
100 |
|
| 40 |
48 |
54 |
70 |
70 |
92 |
92 |
92 |
92 |
102 |
102 |
102 |
108 |
118 |
| 50 |
57 |
66 |
84 |
84 |
107 |
107 |
107 |
107 |
112 |
118 |
118 |
123 |
133 |
| 65 |
73 |
82 |
102 |
104 |
127 |
127 |
127 |
127 |
137 |
143 |
143 |
153 |
170 |
| 80 |
86 |
95 |
115 |
119 |
142 |
142 |
142 |
142 |
147 |
153 |
153 |
170 |
190 |
| 100 |
108 |
120 |
140 |
144 |
162 |
162 |
167 |
167 |
173 |
180 |
180 |
202 |
229 |
| 125 |
134 |
146 |
168 |
172 |
192 |
192 |
193 |
193 |
210 |
217 |
217 |
242 |
274 |
| 150 |
162 |
174 |
196 |
200 |
217 |
217 |
223 |
223 |
247 |
257 |
257 |
284 |
311 |
| 175 |
183 |
195 |
221 |
227 |
247 |
247 |
253 |
265 |
277 |
287 |
284 |
316 |
358 |
| 200 |
213 |
225 |
251 |
257 |
272 |
272 |
283 |
290 |
309 |
324 |
324 |
358 |
398 |
| 250 |
267 |
279 |
307 |
315 |
327 |
328 |
340 |
352 |
364 |
391 |
388 |
442 |
488 |
| 300 |
318 |
330 |
358 |
366 |
377 |
383 |
400 |
417 |
424 |
458 |
458 |
538 |
|
| 350 |
363 |
375 |
405 |
413 |
437 |
443 |
457 |
474 |
485 |
512 |
|
|
|
| 400 |
414 |
426 |
458 |
466 |
488 |
495 |
514 |
546 |
543 |
572 |
|
|
|
| 500 |
518 |
530 |
566 |
574 |
593 |
617 |
624 |
628 |
657 |
704 |
|
|
|
| 600 |
618 |
630 |
666 |
674 |
695 |
734 |
731 |
747 |
764 |
813 |
|
|
|
| 700 |
718 |
730 |
770 |
778 |
810 |
804 |
833 |
852 |
879 |
|
|
|
|
| 800 |
818 |
830 |
874 |
882 |
917 |
911 |
942 |
974 |
988 |
|
|
|
|
| 900 |
910 |
930 |
974 |
982 |
1017 |
1011 |
1042 |
1084 |
1108 |
|
|
|
|
| 1000 |
1010 |
1030 |
1078 |
1086 |
1124 |
1128 |
1154 |
1194 |
1220 |
|
|
|
|
| 1200 |
1210 |
1230 |
1280 |
1290 |
1341 |
1342 |
1364 |
1398 |
1452 |
|
|
|
|
| 1400 |
1420 |
1450 |
1510 |
|
1548 |
1542 |
1578 |
1618 |
|
|
|
|
|
| 1600 |
1630 |
1660 |
1720 |
|
1772 |
1764 |
1798 |
1830 |
|
|
|
|
|
| 1800 |
1830 |
1860 |
1920 |
|
1972 |
1964 |
2000 |
|
|
|
|
|
|
| 2000 |
2020 |
2050 |
2120 |
|
2182 |
2168 |
2230 |
|
|
|
|
|
|
| 2200 |
2030 |
2260 |
2330 |
|
2384 |
2378 |
|
|
|
|
|
|
|
| 2400 |
2430 |
2480 |
2530 |
|
2594 |
|
|
|
|
|
|
|
|
| 2600 |
2630 |
2660 |
2730 |
|
2794 |
|
|
|
|
|
|
|
|
| 2800 |
2830 |
2860 |
2930 |
|
3014 |
|
|
|
|
|
|
|
|
| 3000 |
3030 |
3060 |
3130 |
|
3228 |
|
|
|
|
|
|
|
|
VÝROBNÍ ROZMĚRY
Rozměry těsnění typu SPIRATEM 2 dle normy DIN 2692 pro tlakovou třídu PN 10-100 barů
- pro příruby typu výkružek/nákružek vyráběné podle normy DIN 2513
 |
| jmenovitý rozměr příruby [mm] |
d2 [mm] |
d3 [mm] |
| 10 |
18 |
34 |
| 15 |
22 |
39 |
| 20 |
28 |
50 |
| 25 |
35 |
57 |
| 32 |
43 |
65 |
| 40 |
49 |
75 |
| 50 |
61 |
87 |
| 65 |
77 |
109 |
| 80 |
90 |
120 |
| 100 |
115 |
149 |
| 125 |
141 |
175 |
| 150 |
169 |
203 |
| 175 |
195 |
233 |
| 200 |
220 |
259 |
| 250 |
274 |
312 |
| 300 |
325 |
363 |
| 350 |
368 |
421 |
| 400 |
420 |
473 |
| 500 |
520 |
575 |
| 600 |
620 |
675 |
| 700 |
720 |
777 |
| 800 |
820 |
882 |
| 900 |
920 |
987 |
| 1000 |
1020 |
1091 |
Rozměry těsnění typu SPIRATEM 2 dle normy DIN 2691 (PN10-160)
- pro příruby typu pero/drážka vyráběné podle normy DIN 2512
 |
| jmenovitý rozměr příruby [mm] |
d2 [mm] |
d3 [mm] |
| 4-6 |
20 |
30 |
| 8 |
22 |
32 |
| 10 |
24 |
34 |
| 15 |
29 |
39 |
| 20 |
36 |
50 |
| 25 |
43 |
57 |
| 32 |
51 |
65 |
| 40 |
61 |
75 |
| 50 |
73 |
87 |
| 65 |
95 |
109 |
| 80 |
106 |
120 |
| 100 |
129 |
149 |
| 125 |
155 |
175 |
| 150 |
183 |
203 |
| 175 |
213 |
233 |
| 200 |
239 |
259 |
| 250 |
292 |
312 |
| 300 |
343 |
363 |
| 350 |
395 |
421 |
| 400 |
447 |
473 |
| 500 |
549 |
575 |
| 600 |
649 |
675 |
| 700 |
751 |
777 |
| 800 |
856 |
882 |
| 900 |
961 |
987 |
| 1000 |
1062 |
1092 |
MONTÁŽNÍ NÁVOD
|
Montáži věnujte maximální pozornost. Nejčastější příčinou selhání spirálového těsnění je nedodržení doporučeného způsobu montáže.
- Očistěte dosedací plochy přírub a zkontrolujte jestli nejsou poškozené.
- Zajistěte rovnoběžnost dosedacích ploch.
- Vložte spirálově vinuté těsnění tak aby bylo správně vystředěné.
- Utahujte šrouby podle nákresu postupně na 50 %, 75 %, 100 % doporučeného přítlačného tlaku (viz. následující tabulka).
- Nedoporučujeme šrouby uvolňovat a znova dotahovat.
- Nepoužívejte poškozené šrouby a matice.
- Věnujte zvýšenou pozornost při montáži těsnění typu SPIRATEM 2.
|
 |
Obr.: Postup při utahování šroubů
 |
VÝPOČET SÍLY NA STLAČENÍ TĚSNĚNÍ
Aby těsnění splňovalo svoji funkci musí být při montáži stlačeno správným přítlačným tlakem. Tabulka přítlačných tlaků na těsnění:
| TĚSNĚNÍ S VNĚJŠÍM KROUŽKEM |
| Náplň |
Q [N/mm2] při 20 °C |
m |
Qt [N/mm2] |
| Min. |
Dop. |
Max. |
100 °C |
200 °C |
300 °C |
400 °C |
500 °C |
| Grafit |
50 |
95 |
180 |
2 |
140 |
130 |
120 |
110 |
100 |
| PTFE |
50 |
80 |
130 |
1,8 |
105 |
90 |
- |
- |
- |
| TĚSNĚNÍ S VNITŘNÍM A VNĚJŠÍM KROUŽKEM |
| Náplň |
Q [N/mm2] při 20 °C |
m |
Qt [N/mm2] |
| Min. |
Dop. |
Max. |
100 °C |
200 °C |
300 °C |
400 °C |
500 °C |
| Grafit |
50 |
122 |
300 |
2 |
180 |
170 |
160 |
150 |
140 |
| PTFE |
50 |
110 |
250 |
1,8 |
150 |
130 |
- |
- |
- |
* Lze možno použít také jakost šroubu 6.9(6G). V tomto případě je utahovací moment M=335 N.m (utáhnout na 60 % M)
POMOCNÁ TABULKA - POČET A ROZMĚR ŠROUBŮ PRO PŘÍRUBY ASME
tlaková třída jmenovitý průměr |
150 lb |
300 lb |
400 lb |
600 lb |
900 lb |
1500 lb |
2500 lb |
| 1/2" |
4x1/2" |
4x1/2" |
4x5/8" |
4x1/2" |
4x3/4" |
4x3/4" |
4x3/4" |
| 3/4" |
4x1/2" |
4x5/8" |
4x5/8" |
4x5/8" |
4x3/4" |
4x3/4" |
4x3/4" |
| 1" |
4x1/2" |
4x5/8" |
4x5/8" |
4x5/8" |
4x7/8" |
4x7/8" |
4x7/8" |
| 1 1/4" |
4x1/2" |
4x5/8" |
4x5/8" |
4x5/8" |
4x7/8" |
4x7/8" |
4x1" |
| 1 1/2" |
4x1/2" |
4x3/4" |
4x3/8" |
4x3/4" |
4x1" |
4x1" |
4x1 1/8" |
| 2" |
4x5/8" |
5x5/8" |
8x5/8" |
5x5/8" |
8x7/8" |
8x7/8" |
8x1" |
| 2 1/2" |
4x5/8" |
8x3/4" |
8x3/4" |
8x3/4" |
8x1" |
8x1" |
8x1 1/8" |
| 3" |
4x5/8" |
8x3/4" |
8x3/4" |
8x3/4" |
8x7/8" |
8x1 1/8" |
8x1 1/4" |
| 3 1/2" |
8x5/8" |
8x3/4" |
8x7/8" |
8x7/8" |
|
|
|
| 4" |
8x5/8" |
8x3/4" |
8x7/8" |
8x7/8" |
8x1 1/8" |
8x1 1/4" |
8x1 1/2" |
| 5" |
8x3/4" |
8x3/4" |
8x7/8" |
8x1" |
8x1 1/4" |
8x1 1/2" |
8x1 3/4" |
| 6" |
8x3/4" |
12x3/4" |
12x7/8" |
12x1" |
12x1 1/8" |
12x1 3/8" |
8x2" |
| 8" |
8x3/4" |
12x7/8" |
12x1" |
12x1 1/8" |
12x1 3/8" |
12x1 5/8" |
12x2" |
| 10" |
12x7/8" |
16x1" |
16x1 1/8" |
16x1 1/4" |
16x1 3/8" |
12x1 7/8" |
12x2 1/2" |
| 12" |
12x7/8" |
16x1 1/8" |
16x1 1/4" |
20x1 1/4" |
20x1 3/8" |
16x2" |
12x2 3/4" |
| 14" |
12x1" |
20x1 1/8" |
20x1 1/4" |
20x1 3/8" |
20x1 1/2" |
16x2 1/4" |
|
| 16" |
16x1" |
20x1 1/4" |
20x1 3/8" |
20x1 1/2" |
20x1 5/8" |
16x2 1/2" |
|
| 18" |
16x1 1/8" |
24x1 1/4" |
24x1 3/8" |
20x1 5/8" |
20x1 7/8" |
16x2 3/4" |
|
| 20" |
20x1 1/8" |
24x1 1/4" |
24x1 1/2" |
24x1 5/8" |
20x2" |
16x3" |
|
| 22" |
20x1 1/4" |
24x1 1/2" |
24x1 5/8" |
24x1 3/4" |
|
|
|
| 24" |
20x1 1/4" |
24x1 1/2" |
24x1 3/4" |
24x1 7/8" |
20x2 1/2" |
16x3 1/2" |
|
| 26" |
24x1 1/4" |
26x1 5/8" |
28x1 3/4" |
28x1 7/8" |
20x2 3/4" |
|
|
| 28" |
28x1 1/4" |
28x1 5/8" |
28x1 7/8" |
28x2" |
20x3" |
|
|
| 30" |
28x1 1/4" |
28x1 3/4" |
28x2" |
28x2" |
20x3" |
|
|
| 32" |
28x1 1/2" |
28x1 7/8" |
28x2" |
28x21/4" |
20x3 1/4" |
|
|
| 34" |
32x1 1/2" |
28x1 7/8" |
28x2" |
28x2 1/4" |
20x3 1/2" |
|
|
| 36" |
32x1 1/2" |
32x2" |
32x2" |
28x2 1/2" |
20x3 1/2" |
|
|
| 38" |
32x1 1/2" |
32x1 1/2" |
32x1 3/4" |
28x2 1/4" |
20x3 1/2" |
|
|
| 40" |
36x1 1/2" |
32x1 5/8" |
32x1 7/8" |
32x2 1/4" |
24x3 1/2" |
|
|
| 42" |
36x1 1/2" |
36x2" |
32x2 1/2" |
28x2 3/4" |
24x3 1/2" |
|
|
| 44" |
40x1 1/2" |
32x1 3/4" |
32x2" |
32x2 1/2" |
24x3 3/4" |
|
|
| 46" |
40x1 1/2" |
28x1 7/8" |
36x2" |
32x2 1/2" |
24x4" |
|
|
| 48" |
44x1 1/2" |
32x1 7/8" |
28x2 1/4" |
32x2 3/4" |
24x4" |
|
|
| 50" |
44x1 3/4" |
32x2" |
32x2 1/4" |
28x3" |
|
|
|
| 52" |
44x1 3/4" |
32x2" |
32x2 1/4" |
32x3" |
|
|
|
| 54" |
44x1 3/4" |
28x2 1/4" |
28x2 1/2" |
32x3" |
|
|
|
| 56" |
48x1 3/4" |
32x2 1/4" |
32x2 1/2" |
32x3 1/4" |
|
|
|
| 58" |
48x1 3/4" |
28x2 1/4" |
32x2 1/2" |
32x3 1/4" |
|
|
|
| 60" |
52x1 3/4" |
32x2 1/4" |
32x2 3/4" |
28x3 1/2" |
|
|
|
POMOCNÁ TABULKA - POČET A ROZMĚR ŠROUBŮ PRO PŘÍRUBY DIN
| DN/PN |
1-2,5 |
6 |
10 |
16 |
25 |
40 |
64 |
100 |
160 |
250 |
320 |
400 |
| 6 |
|
4 M 10 |
|
|
|
4 M 10 |
|
|
|
|
|
|
| 8 |
|
4 M 10 |
|
|
|
4 M 10 |
|
|
|
|
|
|
| 10 |
|
4 M 10 |
|
|
|
4 M 12 |
4 M 12 |
4 M 12 |
4 M 12 |
4 M 16 |
4 M 16 |
4 M 16 |
| 15 |
|
4 M 10 |
|
|
|
4 M 12 |
4 M 12 |
4 M 12 |
4 M 12 |
4 M 16 |
4 M 16 |
4 M 20 |
| 20 |
|
4 M 10 |
|
|
|
4 M 12 |
|
|
|
|
|
|
| 25 |
|
4 M 10 |
|
|
|
4 M 12 |
4 M 16 |
4 M 16 |
4 M 16 |
4 M 20 |
4 M 20 |
4 M 24 |
| 32 |
|
4 M 12 |
|
|
|
4 M 16 |
|
|
|
|
|
|
| 40 |
|
4 M 12 |
|
|
|
4 M 16 |
4 M 20 |
4 M 20 |
4 M 20 |
4 M 24 |
4 M 24 |
4 M 27 |
| 50 |
|
4 M 12 |
|
|
|
4 M 16 |
4 M 20 |
4 M 24 |
4 M 24 |
8 M 24 |
8 M 24 |
8 M 27 |
| 65 |
|
4 M 12 |
|
4 M 16 |
|
8 M 16 |
8 M 20 |
8 M 24 |
8 M 24 |
8 M 24 |
8 M 27 |
8 M 30 |
| 80 |
|
4 M 16 |
|
8 M 16 |
|
8 M 16 |
8 M 20 |
8 M 24 |
8 M 24 |
8 M 27 |
8 M 27 |
8 M 30 |
| 100 |
|
4 M 16 |
|
8 M 16 |
|
8 M 20 |
8 M 24 |
8 M 27 |
8 M 27 |
8 M 30 |
8 M 33 |
8 M 36 |
| 125 |
|
8 M 16 |
|
8 M 16 |
|
8 M 24 |
8 M 27 |
8 M 30 |
8 M 30 |
12 M 30 |
12 M 33 |
12 M 36 |
| 150 |
|
8 M 16 |
|
8 M 20 |
|
8 M 24 |
8 M 30 |
12 M 30 |
12 M 30 |
12 M 33 |
12 M 36 |
12 M 39 |
| 175 |
|
8 M 20 |
|
8 M 20 |
12 M 24 |
12 M 27 |
12 M 30 |
12 M 30 |
12 M 33 |
12 M 36 |
12 M 39 |
12 M 45 |
| 200 |
|
8 M 16 |
8 M 20 |
12 M 20 |
12 M 24 |
12 M 27 |
12 M 33 |
12 M 33 |
12 M 33 |
12 M 39 |
16 M 39 |
16 M 45 |
| 250 |
|
12 M 16 |
12 M 206 |
12 M 24 |
12 M 27 |
12 M 30 |
12 M 33 |
12 M 36 |
12 M 39 |
16 M 45 |
16 M 48 |
|
| 300 |
|
12 M 16 |
12 M 206 |
12 M 24 |
16 M 27 |
16 M 30 |
16 M 39 |
16 M 39 |
16 M 39 |
16 M 48 |
|
|
| 350 |
|
12 M 20 |
16 M 200 |
16 M 24 |
16 M 30 |
16 M 33 |
16 M 36 |
16 M 45 |
|
|
|
|
| 400 |
|
16 M 20 |
16 M 240 |
16 M 27 |
16 M 33 |
16 M 36 |
16 M 39 |
16 M 45 |
|
|
|
|
| 450 |
|
16 M 20 |
20 M 240 |
20 M 27 |
|
20 M 36 |
|
|
|
|
|
|
| 500 |
|
20 M 20 |
20 M 240 |
20 M 30 |
20 M 33 |
20 M 39 |
20 M 45 |
20 M 52 |
|
|
|
|
| 600 |
|
20 M 24 |
20 M 274 |
20 M 33 |
20 M 36 |
20 M 45 |
20 M 52 |
20 M 56 |
|
|
|
|
| 700 |
|
24 M 24 |
24 M 274 |
24 M 33 |
24 M 39 |
24 M 45 |
24 M 52 |
24 M 64 |
|
|
|
|
| 800 |
|
4 M 27 |
24 M 30 |
24 M 36 |
24 M 45 |
24 M 52 |
24 M 56 |
|
|
|
|
|
| 900 |
|
24 M 27 |
28 M 307 |
28 M 36 |
28 M 45 |
28 M 52 |
28 M 56 |
|
|
|
|
|
| 1000 |
|
28 M 27 |
28 M 337 |
28 M 39 |
28 M 52 |
28 M 52 |
29 M 64 |
|
|
|
|
|
| 1200 |
|
32 M 27 |
32 M 307 |
32 M 36 |
32 M 45 |
32 M 56 |
32 M 72 |
|
|
|
|
|
| 1400 |
36 M 27 |
36 M 33 |
36 M 393 |
36 M 45 |
36 M 56 |
36 M 56 |
|
|
|
|
|
|
| 1600 |
40 M 27 |
40 M 33 |
40 M 453 |
40 M 52 |
40 M 56 |
40 M 64 |
|
|
|
|
|
|
| 1800 |
44 M 27 |
44 M 36 |
44 M 456 |
44 M 52 |
44 M 64 |
|
|
|
|
|
|
|
| 2000 |
48 M 27 |
48 M 39 |
48 M 459 |
48 M 56 |
48 M 64 |
|
|
|
|
|
|
|
| 2200 |
52 M 30 |
52 M 39 |
52 M 529 |
52 M 56 |
|
|
|
|
|
|
|
|
| 2400 |
56 M 30 |
56 M 39 |
56 M 529 |
|
|
|
|
|
|
|
|
|
| 2600 |
60 M 30 |
60 M 45 |
60 M 525 |
|
|
|
|
|
|
|
|
|
| 2800 |
64 M 33 |
64 M 45 |
64 M 525 |
|
|
|
|
|
|
|
|
|
| 3000 |
68 M 33 |
68 M 45 |
68 M 565 |
|
|
|
|
|
|
|
|
|
TABULKA MONTÁŽNÍCH SIL ŠROUBŮ F A UTAHOVACÍCH MOMENTŮ M
| označení šroubů |
3.6 (4D) |
5.6 (5D) |
6.9 (6G) |
8.8 (8G) |
10.9 (10K) |
12.9 (12K) |
F [N] |
M [N.m] |
F [N] |
M [N.m] |
F [N] |
M [N.m] |
F [N] |
M [N.m] |
F [N] |
M [N.m] |
F [N] |
M [N.m] |
| M10 |
8640 |
17 |
115001 |
22 |
22200 |
43 |
26300 |
51 |
37000 |
72 |
44400 |
87 |
| M12 |
12600 |
29 |
16800 |
39 |
32400 |
75 |
38400 |
89 |
54000 |
125 |
64800 |
150 |
| M14 |
17300 |
46 |
23100 |
62 |
44500 |
119 |
52700 |
141 |
741000 |
198 |
89000 |
240 |
| M16 |
23800 |
71 |
31700 |
95 |
61200 |
182 |
72600 |
215 |
102000 |
305 |
122500 |
365 |
| M18 |
28900 |
97 |
38600 |
130 |
74400 |
250 |
88200 |
295 |
124000 |
420 |
149000 |
500 |
| M20 |
37200 |
138 |
49600 |
184 |
95700 |
355 |
113500 |
420 |
159500 |
590 |
191500 |
710 |
| M22 |
46500 |
186 |
62000 |
250 |
119500 |
480 |
142000 |
570 |
190500 |
800 |
239000 |
960 |
| M24 |
53600 |
235 |
71400 |
315 |
138000 |
610 |
163500 |
725 |
230000 |
1020 |
276000 |
1220 |
| M27 |
70600 |
350 |
94100 |
470 |
181500 |
905 |
215000 |
1070 |
302000 |
1510 |
363000 |
1810 |
| M30 |
85700 |
475 |
114500 |
635 |
220000 |
1230 |
261000 |
1450 |
367000 |
2050 |
441000 |
2450 |
| M33 |
10700 |
645 |
142500 |
865 |
275000 |
1660 |
326000 |
1970 |
458000 |
2770 |
550000 |
3330 |
| M36 |
125500 |
830 |
167500 |
1110 |
323000 |
2140 |
382000 |
2530 |
538000 |
3560 |
645000 |
4280 |
| M39 |
151000 |
1080 |
201000 |
1440 |
388000 |
2770 |
460000 |
3290 |
646000 |
4620 |
776000 |
5550 |
| M42 |
172500 |
1330 |
230000 |
1780 |
444000 |
3430 |
526000 |
4070 |
740000 |
5720 |
888000 |
6860 |
| M45 |
202000 |
1670 |
270000 |
2220 |
520000 |
4290 |
616000 |
5090 |
867000 |
7150 |
1040000 |
8580 |
| M48 |
227000 |
2020 |
303000 |
2690 |
585000 |
5180 |
693000 |
6140 |
975000 |
8640 |
1170000 |
10350 |
| M52 |
273000 |
2590 |
364000 |
3460 |
702000 |
6670 |
832000 |
7900 |
1170000 |
11100 |
1405000 |
13350 |
Hodnoty jsou uvedené pro koeficient tření 0,14 tj. standardní šrouby s lehce zaolejovanými třecími plochami.
ZPŮSOB OBJEDNÁNÍ
| Správná objednávka na spirálově vinuté těsnění by měla obsahovat následující informace: |
| Příklad: |
| 1. typ spirálově vinutého těsnění |
SPIRATEM 123 |
| 2. normu těsnění (+ normu příruby) |
těsnění: BS 3381 (+ příruba: ASME B16.5) |
| 3. Světlost a tlakovou třídu |
2" 150lbs |
| 4. Materiál |
| - vnitřního kruhu |
SS 316 |
| - kovového spirálového pásku |
SS316 |
| - těsnící výplně |
grafit |
| - vnějšího-středícího kruhu |
uhlíková ocel |
| - vyžadujete-li atest na použité materiály ano/ne |
ano |
| Pokud si nejste jisti, zašlete vzorek a obraťte se na naše prodejní oddělení. |
Veškeré technické informace uvedené v tomto katalogu jsou uvedeny v dobré víře a podle nejlepších znalostí výrobce. Výrobce nemůže nést zodpovědnost za nesprávné použití na základě informací z tohoto katalogu.
|
 |